下面的文章中我们可以了解到关于MES市场发展情况、行业前景和竞争态势的相关内容,笔者以为例分析的一些知识,我们一起往下看看吧!

一、目的
了解MES市场发展情况、行业前景和竞争态势。
拆解优秀的MES产品的定位、资源、框架、功能和体验,学习优秀的产品架构和设计。
二、MES市场分析 1. 市场规模
IDC于2022年11月对外发布了《IDC中国制造业MES市场分析及厂商份额,2021:分化加速》。报告针对2021年中国制造业MES市场的规模、增长速度、主要玩家、市场与技术的发展趋势等内容进行了详细研究。报告数据显示,2021 年中国制造执行系统(MES)软件总市场份额达到38.1亿元人民币,年增长率为23.3%,保持平稳快速增长。
2. 行业分析
MES企业会专注于某一细分领域市场扎根做深,而在大东时代智库分布的《2021中国MES产业白皮书》中对流程型行业和离散行业的比重分析,以及细分行业应用情况分析,如图:


从MES细分领域单位营收对MES的投入规模分析,医药制造、食品饮料、电子行业投入比最高,如图:

3. 竞争态势
根据中国企业数据库企查猫,目前中国MES行业的主要企业共有2047家,其中以2021年为主要注册热潮,2021年注册企业数量为204家,新注册企业数量仍处于高位。

从竞争格局来看,西门子、SAP 、宝信软件在 2021 年中国制造执行系统(MES)软件市场排名前三。鼎捷软件、罗克韦尔、、新核云、中控技术等分列第四到第八。而在中国SAAS MES软件子市场份额中,新核云与黑湖智造分别以19.6%和18.9%占据市场前二。


4. 分析小结
从市场规模、行业分析和竞争态势中分析得出:
中国MES市场正在快速稳定的发展,市场需求旺盛。
每年也有很多玩家参与其中,目前是以外资企业为主,内资企业也在积极参与竞争,呈现多极化的方向发展。
医药制造、食品饮料和电子行业单位营收对应的MES投入较高。
而MES的定制化属性较高、标准化程度低、实施周期长、应用程度不深、客户满意率达不到预期,哪怕是多年从事MES的厂商的软件,也需要进行大量的定制开发工作。但是我们从MES市场分析中看到,还是有类似新核云和黑湖智造这样的SAAS MES产品脱颖而出,他们是如何做到的呢?
三、拆解黑湖科技 1. 黑湖科技简介
黑湖科技网络科技有限公司成立于2016年,致力于工厂数字化转型产品研发,先后推出「黑湖智造」、「」、「黑湖供应链」等SAAS应用,构筑起入口级工业协同平台,打破制造企业内外部数据孤岛,实现生产现场信息的实时聚合、协作、分析与决策。
黑湖科技在职员工接近400多人,其中研发人员超过120人,在上海、北京、广东、江苏、浙江、重庆、山东、福建均设有分支机构。公司已获得来自金沙江创投、纪源资本、贝塔斯曼亚洲基金、真格基金、IDG等机构超过八亿元人民币投资,现估值近25亿元人民币。
2. 发展历程

3. 战略分析
因为公司的战略是不断的变化的,这里主要分析黑湖早期切人市场的战略分析。
上述讲到,市场上的MES厂商数多达2000+,根据TD分析,大致可以分为六类:
是做自动化控制出身的厂商,代表企业有和利时、中控技术。
是有管理软件背景的厂商,典型代表是鼎捷软件。
是在SCADA或控制系统软件基础上发展而来的厂商,代表企业有国电南瑞、亚控科技。
是大型企业信息化团队孵化而来的厂商,比如宝信软件和石化盈科。
是一些依托高校、研究机构发展而来的厂商,比方说中控技术依托浙江大学,艾普工华依托华中科技大学。
是独立MES开发商,如华磊迅拓,擅长电子、注塑领域,灿态信息,专注SMT领域。
黑湖科技是创始人周宇翔第二次创业的产物,公司前身叫“马达数据”,成立于2015年,是做大数据分析的;而黑湖科技成立于2016年,所以小编认为黑湖属于独立的MES开发商。相对于其他类型的MES厂商切人市场的难度更大,它是如何切人市场进行布局的呢?
可以从几个方面展开分析:
1)是服务方式选择
目前市场上软件交付多为项目制部署,而黑湖科技选择做SaaS模式,也是最早开始做SaaS的厂商之一,这样的厂商有:新核云、慧工云、欧软云等。
2)是行业选择
从黑湖官宣的标杆客户图分析:

小编将上述的展示的标杆客户进行了行业分类如图,重点布局在食品饮料行业:

小编分析认为在2018年当时,做SaaS的厂商不多,而SaaS模式在其他领域已经有成功案例。行业上,当时的新核云已经在汽车制造、汽配行业扎根,医药行业也有宝信软件。而食品饮料行业没有对应的大的SaaS厂商入局。
4. 黑湖定位
在2018年的一次eworks的工博会专访中,黑湖CEO周宇翔就表达了:“黑湖内部看法,工业分为三层,顶层是管理层(宏观的财务、物料、库存、客户、供应链)、中间是协同层(订单进入ERP后,订单分解到任务落实到工作现场)、底层是执行层(硬件主导、IOT设备、机械手臂、AGV小车等)”他将黑湖定义为中间的协同层,并不是传统的MES。同时,在2021年对黑湖现任黑湖科技副总裁刘崇明的采访中提到“我们一直的定位是制造协同平台,并不是MES系统”。

从黑湖这么多年服务的客户来看,我们了解到黑湖服务的客户,各个制造行业的都有,行业种类达到20+,并没有行业垂直的倾向,同时黑湖的CEO也曾表示“很多厂商认为聚焦的策略是好的,但如果深究其中的细节的话,聚焦反而会给工厂带来更大的困惑和阻碍”。所以黑湖开发了大量的微服务,同步不同的配置去满足跨行业的需求。
从营销布局上来看,黑湖一直有和阿里云、华为云、腾讯云、钉钉、企业微信合作,面向的营销对象也没有特异性。
从产品角度来看,黑湖先后推出了「黑湖智造」、「黑湖小工单」、「黑湖供应链」等SAAS应用,主打的是云制造。
综合黑湖内部的理念、客户、产品,营销布局来看,我认为黑湖的定位是:“工业制造协同平台”、“SAAS平台”、“面向通用型”还有一个就是黑湖一直在研究加强数据驱动生产,“数据分析驱动平台”。
5. 黑湖资源
黑湖的CEO周宇翔从第一次创业开始,就拿到了天使投资人徐小平投资,后续开始第二次创业也就是黑湖科技时,又先后拿到金沙江创投、纪源资本、贝塔斯曼亚洲基金、真格基金、IDG等机构投资。这些投资圈的大佬,在其他制造业的领域也有投资和人脉,所以不仅给到黑湖足够的资金、同时也给到很多客户资源。
黑湖科技在技术和人才储备充足,黑湖科技采用的是互联网的软件技术,例如于云服务、云计算、云部署产品、Kubernetes、Docker等容器化技术,还采用了微服务架构,搭建低代码平台等;而人才方面,公司大部分人员是研发人员和产品经理(大部分来自工业制造一线人员),销售人员占较少的部分,从黑湖科技在BOSS直聘上全国招聘的岗位来看,全国一共招聘148个岗位,其中销售、市场、行政类加在一起只占到46个,剩下的102个全部是技术、产品、项目实施岗位等。
从资金、技术、人才三者的融合,黑湖科技可以不断的去打磨产品,通过技术去实现通用型更强、覆盖面更广、操作性更简单的产品去服务客户。
6. 营销战略
黑湖科技有了资金、技术和人才后,就通过一下几个方面展开营销:
1)与大型B端平台的合作,例如阿里云、华为云、腾讯云、钉钉、企业微信等,这些大型的软件平台有足够的B端客户,能够触达很大一部分的制造业客户。
2)凸显技术优势,早期的宣传中就有提及黑湖智造:“平均客单价40+万,上线仅需4周”,还有黑湖小工单上提到的“3小时极速部署,只需半天,工厂数字化立竿见影”等宣传,因为现在传统的MES系统的实施费用都是比较高的、实施周期也比较长,黑湖的技术优势的宣传一下就形成了鲜明对比。
3)大量的中小客户去孵化大型客户,其实我们仔细看黑湖小工单这个产品,每年的客单价大概在1万元左右,还需要大量的运维人员去运维,成本核算下来,其实是不挣钱的,黑湖通过去覆盖中小企业,随着部分企业的成长,慢慢孵化出大企业,因为前期的投入,已经产生了用户黏性,再去做升级就水到渠成。
除上述3大途径以往,黑湖还与一些其他软件厂商合作,打包销售,参加行业论坛会议,提高企业知名度等。
7. 产品范围
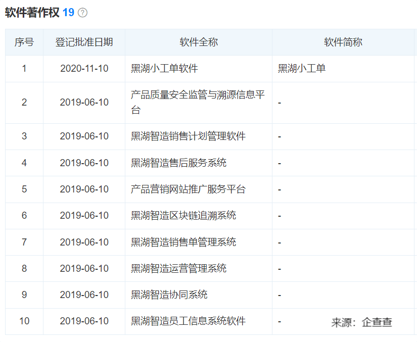
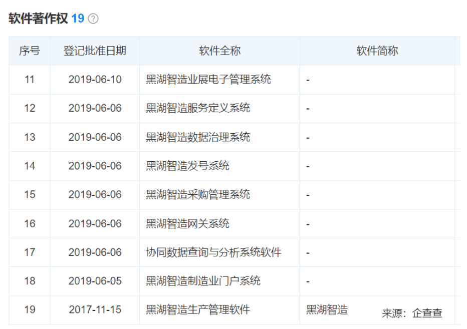
上面一直提到黑湖科技是一个工业协同平台,所以它的产品范围就不会被MES所局限,从下面两张近几年来黑湖科技分享的软件著作权可以看出,黑湖科技涉及的范围有“销售、生产、采购、供应链、人员、数据治理、区块链追溯、质量和售后”等。但是一些底层的数采(SCADA)方面,还是采取与其他供应商合作的方式部署。


四、产品拆解-黑湖智造
「黑湖智造」是面向中大型企业的,是一款基于云端的智能制造协同系统,支持移动端及Web端多平台登录,采用 SAAS模式为客户提供服务。主要为制造业提供计划排产、生产执行、质量管理、仓储管理、资源管理和可视化数据分析等协同管理功能。
1. 工厂数字化蓝图
「黑湖智造」作为工业制造协同平台,与其他数字化管理的系统都有着紧密的配合,从销售端、供应链、资源计划层、流程管理、产品、质量、仓库、实验室等方面,还有底层设备的数采、控制、物联系统等,都有协同关系,如图:

为了能够快速响应各个业务系统的对接,黑湖也搭建了标准化接口平台,实现快速对接。

2. 功能架构
作为通用型的SaaS产品,其PaaS能力也要有足够的支持。从工厂建模的基础设置开始,到基础数据定义和录入,再到计划的录入、执行和分析,辅以流程管理、业务插件和智能分析平台,基于这样的矩阵微服务(500+),灵活的适配不同的业务。

3. 数字化全链路
从客户订单到成品交付发货贯彻生产全流程、数字全链路管理。
4. 产品亮点(解决客户什么问题)
1)数字接单(多厂协同)
接单前,可根据实际产能、库存、工单、成本等信息协助销售订单快速准确评估,这需要与管理层的系统ERP或者CRM深度结合,是很多MES产品不具备的,大都是被动的接受销售订单或生产计划。这样的功能解决了销售端与生产端信息同步不及时的问题,避免了一些因为销售订单导致的生产的压力。
接单后,多平台销售系统无缝对接,支持多工厂多车间多供应商分发订单。这也是基于云平台的产品能够轻松实现的功能。很好的解决了生产资源能力饱和度不平衡的问题。

2)动态排程
这也是系统的核心功能,总结黑湖的动态排程功能的几个特点:
①可视化排程
可视化甘特图制定作业计划,显示工位、设备的空闲状态,匹配对应的资源(包括物料库存、设备、班组人员、异常等),提示资源可用性与时间冲突,并且与采购、仓储高效协作,确保生产前的各类资源是可用的。

②资源状态实时更新
可视化日历表制定资源可用周期,明确各类资源可用时间周期范围。
③动态调整排程
当发生应急的插单或订单调整时,可以通过拖拽式插单,编辑调整任务订单。
④实时的动态数据
生产数据、设备数据、人员工位状态数据、物料库存与采购数据都是实时更新的,保障数据的及时和准确反馈。
⑤生产进度和异常显示更直观
随着生产任务的完成情况报工、产线异常APP反馈,可直接在PC上进行直观展示生产进度和异常信息,解决了生产进度透明的问题。
3)计划、调整同步下发(多部门协同)
计划或者调整在下发给对应的生产现场的同时,也会下达通知到协同部门。支持围绕生产任务的各部门实时同步,一键下发生产任务。任务快速下发:生产任务跨部门一键下发。车间现场秒收:各部门同步接收,免去沟通时间,减少信息传递错误。

4)异常及时预警
异常的预警包括:进度延期异常、生产异常、质量异常、取料异常、设备异常等,异常信息实时推送到每个相关方。远程快速定位问题:通过完整的、实时的、准确的数据,快速确认瓶颈,帮助企业管理者建立机制与流程,减少异常发生。
5)仓储管理
为了降低库存数量、降低物料损耗、提高物料周转方面,黑湖智造做了一些努力。
①一物一码
支持按批次、最小包装等管理要求贴码,可快速扫码出入库,确保账实相符,有效防错。
②库存地图
手机/平台查询,随时随地掌握全厂库存动态,定位物料位置和状态。
③库存扫描
支持定期扫描库存物料状态和效期,生成不合格物料、待检验物料、过期物料相关报告,并自动推送提醒。
④出入库规则
支持批次先进先出、近效期先出等多种规则自定义配置,并在执行时可以进行预警提示。
⑤精确领料
根据计划生成领料单,自动计算领料数量,精确物料出入库管控,物料去向可追溯。
⑥异常规则
对物料异常规则管理策略。
⑦库存管理策略
按需合理设置库存管理策略,支持最大最小库存,先进先出规则等灵活配置。同时支持对线边库存容量的管理策略。
6)降低质量风险、提供质量追溯
总结的特点有:减少质量问题、减少浪费,主要在下面几个关键环节上进行控制:
①投料、上料环节
支持通过扫码、设备对接等方式,在称量、上料、投料等生产关键环节中进行管控,超限自动提示,支持生产过程中各个环节对替代料的识别与使用防错。
②关键工艺标准范围管控
将作业标准程序化,减少对生产人员的依赖性;支持生产关键工艺管控点的上下限设定和标准值提示,—旦记录超限则触发异常提醒。
③各个环节质量管控
检验方案规范化 检验规则 触发规则自定义
支持质检方案、质检项目/标准、取样规则(如AQL)、质检触发规则等多种维度的自定义配置,匹配不同客户质量体系要求。
质检流程标准化
来料检验(IQC)、过程检验(PQC)、出厂检验(FQC)等等质检流程电子化、标准化、规范化,质检任务自动触发,检验标准与方案随任务下发,检验结果按标准要求填写,自动判断检验结果。
质检异常触发和管理
支持手工/自动触发异常,按自定义(如异常类型)的处理流程进行跟踪,记录处理结果。
实时自动发送质检指令、接收质检异常
质检指令自动、实时推送,无需人工喊话,减少沟通成本,避免漏检,异常及时触发,快速定位风险点,并通知相关人员处理。
④质量追溯
从原料到成品,全生命周期完整生产履历追溯,可按批次、订单、原料等多维度进行正反向追溯。
正向追溯:正向追溯定位潜在质量问题原因,可定位使用物料、相关批次、检验结果、生产制程资源、作业记录、异常记录等信息。
反向追溯:可通过反向追溯定位在制品、仓库、已发货库存与批次,缩小复检范围。
7)制造成本核算
支持工时/工费、料费、生产损耗等相关数据精准记录和自动汇总,如果需要可以随时与ERP进行对接,实现完整的成本核算。
8)设备管理
首先是设备、模具、备品备件和工装夹具的全资源的管理;其次是对设备的状态的实时获取,并分析设备OEE效率;最后是对设备平时的点检、保养等;全方面的进行设备资源管理。
①设备台账和日志
设备台账全电子化、规范化保存,全生命周期设备日志(生产、维修、任务点检、状态等日志)完整记录该设备的一切变更,方便追溯和分析。
②现场二维码管理设备
在设备上绑定二维码,通过扫描二维码获取设备的全部信息。
③任务发布和任务报工定制
任务报告模板可以根据用户所需进行自定义设置,支持现场拍照、录音等多媒体功能,帮助用户采集维护任务现场的任何信息。
④设备维护计划和实时报警
支持设备维护计划制定、计划执行提醒和设备故障实时报警。

9)内部协同外部协同
①内部协同
生产现场与协作部门实时协同,由自上而下的“管理驱动响应”变为分布式的“信息驱动响应”减少因上游生产进度、设备状态、物料库存、质量偏差等异常情况造成的生产效率损失;车间与其他部门及时共享数据,降低闲置与等待时间。
②外部协同
外部协同主要针对外协订单“进度”和“质量”的把控,这里的“进度”包括生产进度和物流进度,基于实时进度数据,厂内同步安排采购、生产、物流、质检,形成厂内外管理闭环。“质量”控制支持外协产品入厂及时自动触发检验流程,形成检验报告,并同步关联本厂生产记录,形成厂内外追溯链条。
10)数据赋能
通过数据监控,实时了解生产情况,解决生产问题;通过长期的数据沉淀,完成数据分析,优化生产工艺,建立决策机制,实现智能决策。

五、产品拆解-黑湖小工单
「黑湖小工单」是面向中小微型企业的,是一款超轻量生产管理小程序,敏捷管理生产、库存、设备等核心制造流程。黑湖小工单是在疫情期间上线的,2020年9月开始研发,到2021年3月上线,使命是帮助高成长制造企业轻松迈出数字化转型第一步,打破工厂内外部数据孤岛,实现生产进度透明、生产任务快速下发、生产作业标准化、计时
1. 小微企业痛点
与中大型企业的诉求不同,中大型企业对协同管理的要求更高,追求的是长远的效益,而小微企业没有固定的管理制度,流程变化大,追求的是短期的利益。
所以,小微企业有着生产环节的实时性、精确性和数据细颗粒度的需求。
1)实时监测生产进度,从而提前做好订单预警避免交付延期。
2)掌握生产数据,从而实现动态精准的核算生产成本。
3)完善生产质量管控,从而对生产问题追责追溯。
2. 产品架构

3. 核心业务流程
小工单的核心的业务流程主要是“下单工单”和“执行工单”,流程图如下:

4. 标准化设计和用户体验
1)从标准化设计方面去分析:
不同客户会有不同的需求,而黑湖也是面向通用型的产品,所以需要大量的精力投入标准化的设计。这里我从下面几个角度去分析:
①基础配置
部门用户系统配置、单位、产品定义、不良品项、工序、工艺路线、绩效工资配置。



②生产配置
销售订单、工单、任务、报工。

③自定义配置
添加自定义字段、自定字段类型、报工表单提交校验规则、自定义表单、自定义编号规则。

2)从用户体验角度去分析:
产品实施的角度分析:基础数据录入一直是很大的工作流,小工单增加了excel导入功能,模板配置等快捷录入方式,节约工作量。
产品使用的角度分析:PC+移动端数据录入,录入权限灵活配置,多种录入方式,现场二维码查询、工单查询、报表查询,多种查询途径,降低现场使用难度。但是订单的生成和任务的生成分配还是一个很大的工作量。
5. 商业模式
小工单是采用服务部署,订阅付费模式,2022年7800元/年50个/账号(不含实施费),账号越多越贵。

六、总结
通过上述的分享,小编认为目前MES的市场前景还是比较好的,很多工厂数字化的程度不深,随着市场竞争压力越来越大,管理理念的不断转变,很多制造业都会意识到数字化的重要性。头部的一些厂商例如黑湖科技,7年来目前积累的客户3000+,而中国有十几万制造业,还是有很大的市场空间。
黑湖可以有着资金、技术、人才的优势,在跨工厂协同领域有着优势,但是在行业的精通程度会略逊,像是新核云,在汽配领域就积累了很多经验,专业程度高;而功能方面,黑湖的产品功能还是比较强大的,但是在部分场景,例如“生产排程”功能,还未能实现一键排程,会导致排程的工作量大,易出错,后续可以再提高算法能力,增加高级排程功能(APS)
原创发布于人人都是产品经理